
锋芒单手剑


锋芒长柄


锋芒重剑


锋芒双刃


锋芒鞭刃


锋芒太刀


锋芒手枪


锋芒双枪


锋芒榴炮


锋芒霰弹枪


锋芒突击枪


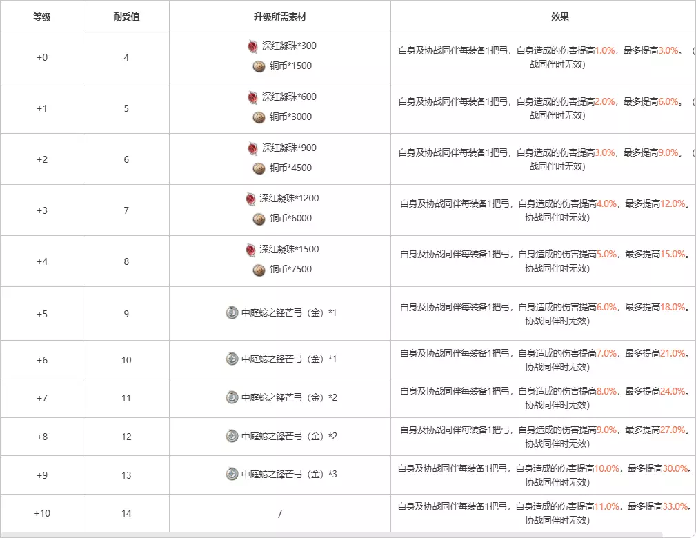
锋芒弓



AI智能总结导读
本文介绍了金色品质的中庭蛇系列锋芒装备,包含单手剑、长柄、重剑等12类角色装备,详细展示了各装备的获取途径、升级所需素材,以及不同等级下提升伤害的效果。




激扬寒波

天光·极昼

修复了装备升级时显示的碎片消耗与实际消耗不符的问题。

如何解锁全部成就。成就会在关闭游戏时解锁。达成100%成就大约需要20-30分钟。成就

游戏内装备完全指南! 装备类型 盔甲,共6个装备栏:头部、躯干、手部、腰带、腿部、脚部。 布甲:提供耐力、制作及建造速度加成。这类盔甲最适合制作类职业,对采集也…

这是一份由集齐所有FishMon并达成超过600万金币销售额的潜水员撰写的详尽指南,旨在帮助你成为在大蓝洞表现最出色的潜水员。本指南将涵盖作为半藏最喜爱的潜水员…

一份包含所有可强化装备的完整列表,包括护甲、饰品、背包及其他可强化物品,以及各自每级升级所需的材料。 警告:前方剧透 由于本指南针对1.0版本新增的强化台持续更…

効率的な放置の仕方 このゲームに限らず放置ゲームは、実際にゲームをポチポチしてコインを稼ぎ、何らかのレベルを上げてインフレを起こし、さらに巨万のコインを稼いでい…

-

今天,我们将深入探讨《往日不再》中一个关键元素——该游戏的"制作台"系统,以及它在营地中的作用与位置,制作台是《往日不再》中一个至关重要的功能点,玩家可以在这里…
