
看不清的图片点进去就能看清楚
世界地形示意图:
首先看看这个,你对会世界的地形和矿物有一定认知
图是草画的,不必纠结高度。字直接看不清的话可以放大。

挖矿真的需要找矿洞吗?你可能有很多误解!
据大量存档地形实际测试数据得出。矿洞是与山地附生的,而山地意味着岩层突起,越高的山越严重,巨大的高度差导致煤矿无法正常生成,而铜矿又不在海平面以上生成,因此山地的花岗岩矿比平原要少得多。
但矿洞并不全是缺点,矿洞本身是空气(方块)可以让矿物露出来(会影响矿物完整度,但问题不大),因此对于不太会挖矿的玩家来说,这是节省时间的,且山地玄武岩层也突起,玩家虽然铜矿少了,但玄武岩的矿相对多了点。
不过矿洞有些危险,比如老虎美洲虎,这类动物对玩家战斗技术有一定挑战。
如何高效的挖矿?
地形选择
平原;选择平原的好处:地形相对山地起伏小,岩层稳定没有矿洞影响,可迅速调整挖矿目标,矿物排列更好,挖矿能够形成规模。
挖矿时间点选择(题外知识)
高效挖矿法(正题)
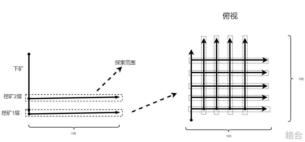
首先,挖矿的过程和路径,我将其拆分为两部分:下矿法和挖矿法,以及一个额外术语:扫矿法
下矿法
下矿法,指的是从地表向下挖的路径,其中一些下矿法也可以是挖矿法
挖矿法
挖矿法,指的是在目标矿物岩层进行挖矿的路径方法
扫矿法
指针对目标矿物分布密度和矿体大小,将下矿和挖矿法的组合进行系统挖矿的过程
下矿法:
垂直下矿法(单格,双格,多格)

也叫竖井,呈直线向下挖掘,很多沙盒游戏中都很常见的下矿法,效率高,难以循环利用。容易掉入岩浆和矿洞(用透视技巧可以规避危险)
阶梯下矿法

挖一个阶梯状的通道向下,效率相对竖井要低很多,但可循环利用,适合已经选址定居的情况。矿物探索面比竖井多
螺旋阶梯下矿法

以螺旋向下的方式挖掘,耗时多,但矿物探索面最高,用的人不多,适合地下生存者。
挖矿法:
丰字挖矿法

也叫鱼骨挖矿法,到达挖矿层后,先朝一个方向挖一条直道,随后从该通道向两侧挖出多条直道,形似鱼骨和丰字而得名。
效率较高,探索范围大,探索面较小,可以多层实施提高探索范围高度
条状挖矿法(丰字衍生)

与丰字差不多,但只挖单边,或只挖一条道一直延申。
探索效率比丰字略高,随通道长度逐渐变慢,探索面小,可以多层实施提高探索范围高度
网状挖矿法

多条横纵通道贯穿,形成网格状而得名,容易迷路,通常用告示牌标记或主通道标记结合防止迷路。
探索效率偏低,费工具,但探索面大,可以多层实施提高探索范围高度
螺旋挖矿法

从中心向外呈螺旋方式挖掘,形成一个大螺旋,往返不方便,但可以中心挖一条或十字贯穿整个螺旋来提高往返效率。
探索效率一般,往返效率低,但探索范围和探索面积会越来越大,直至往返难度太大废弃,可以多层实施提高探索范围高度
圈层挖矿法

由螺旋挖矿法改进而来,从中心向外扩展一个十字,然后围绕十字向外一圈圈扩展,形成一圈圈的矿道。
往返效率高(不会迷路),但挖掘长度不好控制,挖掘效率一般,探索面和探索范围都很大,可以多层实施提高探索范围高度
定点挖矿法

针对浅层矿物或相对矿层稳定的矿物进行挖掘。属于扫矿法的一种。
如针对硝矿:每9-16格向两侧和上下进行挖掘取样,如有矿则进行下一区域取样,如无矿则对其中间未知区域进行贯穿探矿,贯穿至该区域一半时,向前左右上下四周各挖掘2-3格范围进行探矿。


如使用网格或丰字挖矿法进行定点探矿,每4-6格向下或向上挖掘(向上避免在花岗岩层进行,需要探岩浆)
往返效率一般,探索效率高,探索面探索范围大
扫矿法
扫矿指针对1种或多种矿物进行挖掘,或挖掘区域所有矿物,上述6种挖矿法和3种下矿法可结合使用。
该挖矿法需知晓目标矿物单体矿团最小体积,如钻石最小1*1*1,常取2*2*2最小体积的钻石矿体

示例1
以快速出钻目标为例:先选任意下矿法至矿物指定岩层或常见出矿层,钻石生成所在世界高度5-15生成(可能向上延申两格),先下至该岩层,然后选任意挖矿法,挖通常1-2层(多种矿物探索高度多可以挖更多层),我们选择第一层5-6格,5-6层可以探索3-7世界高度的钻石,据目前常见钻石密度,大的间隔可达50-60米,我们可以以100*100的范围探索,理论最差可能性也可以出一次钻石,以现在版本的矿物通常能出3次,矿道间隔3*3(无法包裹2*2的最小矿物体)进行挖掘,这里就解决了挖矿法矿道间隔距离不确定的问题,挖完一层,如果没出,这时可以多挖一层,当然也可以在当前高度继续延申扩展。如果挖多层,由于3-7高度已被探索,那么该假设大小的单矿只可能出现在8-9(不完全,具体看下小节知识点),那么,可以在第9-10高度进行探索,再挖一层,我们保守假设的是最小矿体还有很多更大的矿体,大的单矿则更容易被探索出来。其他矿物同理。
探索完后,若需要清空当前区域2*2*2以上的钻石那么还有11-15可以挖掘,这也就是一种规模性清空矿物的挖法。
示例2(矿体大小利用)
假设我们针对铜矿进行挖掘,取4*5*3的矿体大小,那么我们可见的探索面则为5*6*4(四角看不到),网格挖矿法矿道间隔则一条5格,一条4格,如果是丰字挖矿法则间隔4。如果挖两层,那么上下间距为7格(5+2)
多层挖矿探索时 交错法

上面举例挖掘2*2*2的小钻石矿体,我们在5-6和9-10进行挖掘,如图,如果两层是在同水平的,那么可能会出现刚好错过矿物的情况(示例图右侧A),如果采用交错的方式进行挖掘,取间隔中心点,则可以增大矿道的探索范围,减少误差(示例图右侧B)放到更大的矿体其实也同理。因此,上述例2如果挖多层,实际间隔有时可以更宽,在规模性挖矿时可以减少挖的矿道数量。
规模性挖矿时的挖矿法利用
在实际生存中,为了让手里的资源足够丰富,进行规模性的挖矿。传统无目的的挖掘效率不高,且破坏了大量的区块导致存档大小激增,浪费了很多容易被发掘的矿物。
为了提升效率,我们可以充分利用交错的方法,进行多层挖矿,这时可以舍弃过小的矿体,达到效率综合最大化。但这需要知道不同岩层的矿体大小才能有效的实施。
不同的矿体常用大小
以下数据为:长度*高度*宽度
煤矿
8*9*6,9*4*5,6*3*5,5*4*5,5*4*6,6*3*4,6*3*5,4*3*5
大部分高度在4格,最小宽度有5格,有些矿体非常散,无规则,无法连接,所以出现单个煤矿时意味着可能发现大型矿体,可取4*4*4或5*4*4
铜矿
5*3*5,5*5*3,3*5*3,3*6*3,4*5*4,10*13*6,3*6*4,4*6*4
大多呈上下分布,矿体总体还算规则,偶见巨型连体矿,可取4*5*3或3*5*3
锗矿
4*4*4,3*3*3,3*2*3,5*3*5,4*4*3,3*4*3,4*3*2,4*5*3,4*3*4
矿体较为规则,大部分高度较低,可取4*3*3
硫矿
5*4*2,4*4*2,4*4*3,4*4*4,4*3*4,4*2*4,6*5*5,5*4*3,5*4*4
与锗矿一样较为规则,但偶尔会有大型矿体,可取4*4*3
铁矿
3*2*3,2*4*2,5*6*5,4*4*3,3*5*2,4*3*2,4*2*2,4*3*3,4*5*3
铁矿整体还算规则,没有明显特征,通常取3*3*3或4*3*3
钻石
3*2*2,4*4*3,3*4*3,2*2*2,5*2*4,3*3*2
2.1版本以上整体偏小,最小可见1*1*1,通常取3*2*2
二次穿插探矿法 (待研究)
地形方块测定
数据预测:
矿物在实体方块总量中占比低于1%。该数据272.9万方块中,矿物方块量约2.3万。
在矿物中:
钻石约占总矿物量的2.5%左右。
最高为铜矿,其次为铁矿,硫矿第3,锗矿第4(煤矿实际预测应该与锗矿是持平的,该存档样本中由于有沙地,玄武岩也有偏高隆起,所以煤矿比锗矿还少一点)
下图数据为采样片区方块的实际统计数据
来自2.2随机世界存档的144个区块的数据。
地形是沙地和草地的混合平原地形(但不是很平的标准平原)因此硝石矿,煤矿,铜矿的数据占比会有些偏小,但也更真实于实际生存场景。
面积为:36864m²。
从数据上,以及之前的地形分析来看,2.2的矿物与2.1的矿物总量没有太大变化(但因为山地的增高,导致玄武岩的矿物占比增加,山地范围的矿物预计铜矿占比低于2.1)

2024-12-19 09:40:46 发布在
生存战争2
说点好听的...
收藏
6
1
